Anod Yamaha trim tab counter-rotation 150-200CP din aluminiu
Tecnoseal este probabil producatorul numarul unu de sisteme pentru protectie catodica din lume oferind cea mai variata gama de produse pentru industria nautica in numar de aproximativ 2000 de repere standard si peste 3000 de produse creeate special. Toate produsele sunt fabricate in Italia la cele mai inalte standarde din domeniu avand toate certificarile necesare. Folosind anozii produsi de Tecnoseal aveti garantia unui produs de top si a unei protectii maxime.
Recomandarea specialistilor este ca anozii de sacrificiu sa fie schimbati periodic nu doar atunci cand sunt corodati partial deoarece ei nu mai sunt eficienti in acea faza!
1. anozii de aluminiu ofera protectie indelungata si sunt siguri pentru orice tip de apa
2. anozii din zinc sunt doar pentru apa sarata si ofera protectie pentru o perioada mai scurta de timp
3. anozii din magneziu sunt doar pentru apa dulce curata cu efect mai slab in ape poluate si murdare
Original part number: 6K1-45371-01, 6K1-45371-02
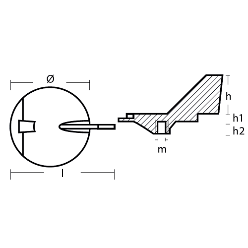
| COD | Greutate | I | h | h1 | h2 | Ø | m |
| 01134AL | 0,26kg | 140mm | 60mm | 6mm | 14mm | 100mm | 10 x 1,25 |



